Alkalmazástechnikai irányelv
Alkalmazástechnikai irányelv
Kérjük, válassza ki a letölteni kívánt fejezeteket.
Tartalomjegyzék

Párkányelem Classic elemhez

Párkányelem felszerelése

A párkányelem eresztúlnyúlása lehetőleg az ereszszélesség hátsó harmadánál legyen, és nem haladhatja meg a 80 mm-t.
Az első Classic elem tervezett felső szélétől mérjen ki 450 mm-t az eresz felé (ügyeljen arra, hogy az eresztúlnyúlás 30 és 80 mm között legyen). Alulról 150 mm-re (párkányelem szélessége) tegyen jelölést (= párkányelem felső széle).

Ismételje meg az adott eljárást az adott ereszvonal 2 pontján, és egy színes, vízszintes zsinórvonallal kösse össze ezeket a jelöléseket.

A párkányelemet viharálló módon kell leszögelni (az összes előre kialakított lyukban rögzíteni szükséges). Tartsa a helyén a párkányelemet, míg az összes előre kialakított lyukban nem kerül rögzítésre a mellékelt PREFA szegekkel.

Megjegyzés

Minél pontosabban végzi el a párkányelem beépítését, annál könnyebb lesz kivitelezni az adott PREFA tetőfedő rendszert.
Ügyeljen arra, hogy a párkányelem az elválasztóréteg alá kerüljön.

párkányelem

Párkányelem felszerelése

A párkányelem eresztúlnyúlása lehetőleg az ereszszélesség hátsó harmadánál legyen, és nem haladhatja meg a 80 mm-t.
A párkányelemet egy előzetes zsinórjelölés segítségével az eresz teljes hosszában egyenes vonalban kell rögzíteni.
A párkányelemet viharálló módon kell leszögelni (az összes előre kialakított lyukban rögzíteni szükséges).
Ezután kerül sor az ereszvonalra történő merőlegesek kijelölésére.
Tartsa a helyén a párkányelemet, míg az összes előre kialakított lyukban nem kerül rögzítésre a mellékelt PREFA szegekkel.

Megjegyzés

Minél pontosabban végzi el a párkányelem beépítését, annál könnyebb lesz kivitelezni az adott PREFA tetőfedő rendszert. Segítségként jelölések (zsinórméretek) állnak rendelkezésre az egyes PREFA tetőfedő elemekhez.

Ügyeljen arra, hogy a párkányelem az elválasztóréteg alá kerüljön (lásd a fenti ábrát).

Különleges tudnivalók R.16 Classic elem és FX.12 tetőfedő panel esetén

Állítsa be a párkányelemet úgy, hogy az R.16 Classic elem, ill. az FX.12 tetőfedő panel számára készített jelölések a tetőközéppont vonalában legyenek.
Ennek során ügyelni kell arra, hogy az oldalsó peremezés (pl. oromszegély-kialakítás) ne az R.16 Classic elem, ill. az FX.12 tetőfedő panel korcára essen. Ha szükséges, tolja el a párkányelemet az R.16 Classic elem, ill. az FX.12 tetőfedő panel méretének egynegyedével.

Különleges tudnivalók 29 × 29 tetőfedő rombusz és 44 × 44 tetőfedő rombusz esetén

Állítsa be a párkányelemet úgy, hogy a jelölések a tetőközéppont vonalában legyenek.
Ennek során ügyelni kell arra, hogy az oldalsó peremezés (pl. oromszegély-kialakítás) területe ne a 29 × 29, ill. 44 × 44 tetőfedő rombuszok közepén legyen
. Ha szükséges, tolja el a párkányelemet a 29 × 29, ill. 44 × 44 tetőfedő rombusz méretének egynegyedével (a függőleges zsinórméret egynegyedével).

Oromkialakítás és oldalirányú csatlakozás

  • Hajlítsa fel a PREFA tetőfedő elemet 30 mm-re a tetőfelületre merőlegesen (1. ábra).
  • Az eredeti oromszegély-rögzítő felső élét rögzítse a homlokdeszka felső széléhez, és viharálló módon szögelje a helyére az oromszegély-rögzítő lemez (2. ábra).
  • Hóban gazdag területeken az oromszegély-kialakítást a 3. ábra szerint kell elvégezni.
  • Megemelt homlokdeszkával kialakított oromszegély esetén a 4. ábrán látható változatot kell alkalmazni.

Különleges tudnivalók R.16 Classic elem és FX.12 tetőfedő panel esetén

A felperemezés körül egy horogkorcot hagyva vágja ki a felső patentkorcot (1. és 2. ábra), és az R.16 Classic elemet vagy az FX.12 tetőfedő panelt 30 mm-rel hajlítsa fel a tetőfelületre merőlegesen.

Különleges tudnivalók tetőfedő zsindely esetén

A tetőfedő zsindely minden bal oldali felhajtásánál (oromszegélycsík és kivezetőelem) az átlósan lefelé futó korcokat a kapilláris hatás elkerülése érdekében ki kell vágni és hajlítani.

  • Jelölje be a peremezési területet és a 30 mm-es korcráhagyást (1. ábra).
  • Korcráhagyással vágja le a tetőfedő zsindelyt (2. ábra).
  • Korckivágás elkészítése (3. és 4. kép).
  • Építse be a fedési sorba és peremezze fel a kivágott tetőfedő zsindelyt (5. és 6. ábra).

Változatok levágott zsindellyel vagy illesztőzsindellyel

Egy másik megoldás, hogy a ferde korcokat levágott tetőfedő zsindellyel vagy illesztőzsindellyel alakítják ki úgy, hogy a ferde korcok ne essenek a felhajtási vonalakba.

1. változat: Levágott zsindely
Felperemezés előtt vágja le és építse be a fedési sorba az utolsó tetőfedő zsindelyt (7. és 8. ábra).

2. változat: Illesztőzsindely
Helyezze el az illesztőzsindelyt, vágja le 30 mm-es korcráhagyással, és hajlítsa fel (8. és 9. kép).

Szakszerű kialakítás révén a tető megfelelő szintű vízzárósága biztosítva van.
A tetőfedő zsindely előkészítése után a csatlakozólemezek (pl. oromfalburkolat vagy fali csatlakozóvápa) kialakíthatók és a fedési sorba beépíthetők.

Különleges tudnivalók DS.19 tetőfedő zsindely esetén

A DS.19 tetőfedő zsindely minden bal oldali felhajtásánál (oromszegélycsík és kivezetőelem) az átlósan lefelé futó korcokat a kapilláris hatás elkerülése érdekében ki kell vágni és hajlítani.

  • Jelölje be a peremezési területet és a 30 mm-es korcráhagyást, majd vágja le a korcráhagyásnál (1. ábra).
  • Korckivágások elkészítése (2. és 3. kép).
  • Építse be a fedési sorba a DS.19 kivágott tetőfedő zsindelyt, és peremezze fel (4. és 5. ábra).

DS.19 illesztőzsindelyes változat

Egy másik megoldás, hogy a ferde korcokat DS.19 illesztőzsindellyel alakítják ki úgy, hogy a ferde korcok ne essenek a felhajtások vonalába.

  • Építse be a fedési sorba a DS.19 illesztőzsindelyt, és a zsindely felső visszahajtásán jelölje meg az átlósan befelé futó korcot (6. ábra).
  • Íves alakban vágja ki a zsindely visszahajtását a jelölés körül (7. ábra).
  • Építse be a fedési sorba és rögzítse a DS.19 illesztőzsindelyt (8. ábra).
  • Hajlítsa fel a tetőfedő elemet. (9. és 10. ábra).

Megjegyzés

A DS.19 illesztőzsindely teljes tetőfedésre nem alkalmas.
FIGYELEM: A DS.19 tetőfedő zsindelyt a kapilláris beszivárgás miatt nem lehet levágni.

Szakszerű kialakítás révén a tető megfelelő szintű vízzárósága biztosítva van.
A DS.19 tetőfedő zsindely előkészítése után a csatlakozólemezek (pl. oromfalburkolat vagy fali csatlakozóvápa) kialakíthatók és a fedési sorba beépíthetők.

Különleges tudnivalók 29 × 29 tetőfedő rombusz esetén

A 29 × 29 tetőfedő rombusz minden bal és jobb oldali ráhajtásánál (oromszegély és szegések) az átlósan lefelé futó korcokat az alsó oldalon ki kell vágni és vissza kell hajtani.

  • Peremezési terület és 30 mm korcráhagyás bejelölése
  • A korcráhagyásnál vágja le a 29 × 29 tetőfedő rombuszt, és készítse el a korckivágást (1. ábra).
  • A korckialakítást hajlítsa vissza és körben vágja le (2. ábra).
  • A kivágott 29 × 29 tetőfedő rombuszt építse be és peremezze fel (3. és 4. ábra).

Szakszerű kialakítás révén a tető megfelelő szintű vízzárósága biztosítva van.

A 29 × 29 tetőfedő rombuszok előkészítése után a csatlakozólemezek (pl. oromfalburkolat vagy fali csatlakozóvápa) kialakíthatók és a tetőfedésbe beépíthetők.

Különleges tudnivalók 44 × 44 tetőfedő rombusz esetén

A 44 × 44 tetőfedő rombusz minden bal és jobb oldali ráhajtásánál (oromszegély és szegések) az átlósan lefelé futó korcokat az alsó oldalon ki kell vágni és vissza kell hajtani.

  • Peremezési terület és 30 mm korcráhagyás bejelölése
  • A korcráhagyásnál vágja le a 44 × 44 tetőfedő rombuszt, és készítse el a korckivágást (1. ábra).
  • A korckialakítást hajlítsa vissza és körben vágja le (2. ábra).
  • A ferde fekvőkorcot a felső oldalon a peremezés körül ki kell vágni (3. ábra).
  • A kivágott 44 × 44 tetőfedő rombuszt építse be és peremezze fel (4. ábra).

Szakszerű kialakítás révén a tető megfelelő szintű vízzárósága biztosítva van.
A 44 × 44 tetőfedő rombuszok előkészítése után a csatlakozólemezek (pl. oromfalburkolat vagy fali csatlakozóvápa) kialakíthatók és a tetőfedésbe beépíthetők.

Vápakialakítás

Biztonsági vápás változat

1 Classic elem
2 alátéthéjazat
3 Hafter

4 Vápalemez
5 Vápadeszka

A biztonsági vápa beépítése a PREFA ajánlása.
Alapvetően tapasztalata és képzettsége alapján a kivitelező dönti el, hogy használ-e biztonsági vápát. A biztonsági vápa csapadékterhelés szempontjából fokozottan érzékeny vápaterületen a hagyományos vápalemezekkel szemben nagyobb biztonságot nyújt a csapadék esetleges visszatorlódása ellen.


A biztonsági vápa előnyei:

  • Megakadályozza a csapadék visszafolyását a kiegészítő visszaperemezésnek köszönhetően
  • Előregyártott PREFA termék
  • További élek az átfedési területen
  • Kapilláris szivárgás megakadályozása az átfedési területen
  • Jobb járhatóság, nagyobb szilárdság

Egyedileg készített vápalemezes változat

1 Classic elem
2 alátéthéjazat
3 Hafter

4 Vápalemez
5 Vápadeszka

  • Hajlítsa meg a vápalemezt max. 3000 mm hosszon.
  • Az oldalsó vízkorcot mindkét oldalon 40 mm szélességben kell visszahajlítani.
  • A vápalemez kiterített szélessége a tetőformától, a tetőhajlásszögtől és a körülményektől függ, és 500 mm-nél nem lehet keskenyebb.
  • Jelentős mértékben eltérő tetőhajlásszög, ill. az adott vápához csatlakozó tetőfelületek nagyon eltérő csapadékterhelése esetén a vápát süllyesztve kell kialakítani, vagy a vápalemez közepén terelőkorccal kell kivitelezni.

Vápacsatlakozás

  • A vápacsatlakozásnál a beépíteni kívánt PREFA tetőfedő elemet kb. 35 mm-re be kell jelölni és le kell vágni a vápahajlat csatlakozó visszahajtásának belső élétől (1. és 2. ábra).
  • A berajzolt beakasztókorcot fel kell hajtani (3. ábra).
  • Az elkészített PREFA tetőfedő elemet beakasztjuk és beépítjük (4. ábra).

Különleges tudnivalók Classic elem esetén

A vápahajlatba szabott és csatlakozó Classik elem minden esetben rátakar a mezőben lévő tetőfedő elemre. Így lehet elérni, hogy az oldalátfedést biztosító hullám a lecsúszó hótól és jégtől se hajoljon fel.

  • Igazítsa meg az elemet, és a vápa visszahajtásán jelölje be a belső élet, majd kb. 35 mm ráhagyással vágja le az elemet (1. ábra).
  • Kicsit kalapálja meg a hornyot a hajlítási él körül, és 180°-kal hajlítsa meg az elemet a hátoldala felé. Ezután helyezze be az elemet, és rögzítse hafterrel (2. és 3. ábra).
  • Mivel a hajlítási él az elem feldolgozása során megnyúlik, a hullám magasságát és formáját fedés után egy ferdére vágott farúd segítségével lehet a legkönnyebben visszaállítani eredeti formájába. Ezzel megakadályozható, hogy a panel megvetemedjen (4. ábra).

Különleges tudnivalók tetőfedő zsindely és DS.19 tetőfedő zsindely esetén

Megjegyzés

A tetőfedő zsindely és a DS.19 tetőfedő zsindely esetében mindig el kell kerülni, hogy a vápa bal oldalán találkozási pont alakuljon ki.

Tetőfedő zsindely

Ha a vápa/zsindelyillesztés metszéspontja bal oldalon a vápa fölé kerül, akkor a tetőfedő zsindelyek esetében előzetesen levágott tetőfedő zsindelyt (1), ill. illesztőzsindelyt (1) kell készíteni és felszerelni.

DS.19 tetőfedő zsindely

Ha a vápa/zsindelyillesztés metszéspontja bal oldalon a vápa fölé kerül, akkor a DS.19 tetőfedő zsindelyek esetében előzetesen DS.19 illesztőzsindelyt (1) kell felszerelni.
A DS.19 tetőfedő zsindelyt a kapilláris beszivárgás miatt nem lehet levágni.

Különleges tudnivalók R.16 Classic elem és FX.12 tetőfedő panel esetén

  • Ha a kónikus derékszögű állókorc a vápa fölé esik, akkor illesztődarabot kell készíteni és felszerelni (1. ábra).
    Megjegyzés: A kézzel készített vápalemezek esetében mindenképpen el kell kerülni a fenti egybeesést.
  • Ennek érdekében egy teljes R.16 Classic elemből vagy FX.12 tetőfedő panelből készítsen illesztődarabot (2. és 3. ábra).
    FIGYELEM: Az illesztődarab méretét úgy válassza meg, hogy az ne akadályozza a hófogók felszerelését. Pontos kivitelezés esetén jól látható, hogy a hófogók egy egyenes vonalba esnek.

Megjegyzés

A biztonsági vápa alkalmazásakor a vápacsatlakozás úgy is kialakítható, hogy az elemillesztés a vápa fölé essen.

Él- és gerinckialakítás

Tetőrétegrendtől és funkcionalitástól függően különböző lehetőségek állnak rendelkezésre.

Szellőző gerincelem (Jet Lüfter)

A szellőző gerincelem 12–55°-os tetőhajlásszögnél használható.
Az eredeti szellőző gerincelem mindkét oldalán található egy-egy szegélylemez. Ennek ellenére a vízzáró csatlakozás érdekében a tetőfedő elemet 40 mm-re hajlítsa fel.
Az utolsó (szükség esetén levágott) lemezsort rögzítse visszatérő hafterrel, közvetlenül az alatta lévő hullámok oldalára (PREFA tetőlemezek esetén) vagy a szellőző gerincelem habszivacs éke fölé történő közvetlen rögzítéssel.

Beépítés

  • Az utolsó sort úgy kell elhelyezni, hogy maradjon egy 80 mm-es légrés. Kb. 40 mm-re hajlítsa fel a PREFA tetőelemeket függőleges irányban (1. ábra).
  • Tartson kb. 5 mm-es tágulási hézagot az egyes szellőző gerincelemek között, majd kb. 50 mm-re húzza le a tömítőék védőfóliáját, és hajlítsa kifelé (2. ábra).
  • Mindkét csatlakozólemezt állítsa be középre, és fix pontként rögzítse be egy-egy Ø 4,1 mm-es PREFA szegeccsel (3. ábra).
  • A tömítőéket a már szabaddá tett tömítőfelülettel ragassza a csatlakozó részek alá. Ezután húzza le a védőfóliát (4. ábra).
  • Rögzítse a (60 mm hosszú) gerincszellőztetőt PREFA tömítőcsavarokkal kb. 600 mm távolságban (5. ábra).
    Megjegyzés:
    — Classic elemek esetében a tömítőcsavart mindig a hullámok tetejének vonalába helyezze.
    — A tetőfedő zsindelyek és rombuszok esetében a rögzítést ne helyezze a ferde beakasztókorcra.
    — Az FX.12 és az R.16 esetében ne rögzítse a derékszögű állókorchoz.
  • Javaslat a szellőző gerincelem elülső fejének felszerelésére (6. ábra).
    Tipp: Először a peremterületen szerelje fel a fedőlemezt, és 30 mm-re hajlítsa fel az oromfalszegélyhez, majd rögzítse az oromfalszegélyt.
  • Állítsa be a szellőző gerincelem elülső felét, és rögzítse szegeccsel (7. ábra).
  • Példa: Él/gerinc metszéspont (8. ábra).

Megjegyzés

Ügyeljen arra, hogy a habszivacs ék teljes hosszában felfeküdjön a tetőfedő elemre.

Megjegyzés

Az egyhéjú tető rétegrendek esetében a gerincoldali szellőzőnyílások kialakításakor a hó behatolása nem zárható ki teljesen.

Nyeregtetős kiugró ablak

A szellőző gerincelem vápához való csatlakoztatásakor a szellőző gerincelemet záróelemmel kell tömíteni, és úgy kell kialakítani, hogy a fő tetőfelületről a csapadékvíz ne juthasson be a szellőző gerincelembe.

Él- és gerinckialakítás kúp- és taréjgerincelemmel

A tető porhó elleni védelme érdekében a PREFA tetőfedő elemet az él és a gerinc mentén legalább 40 mm-rel feltétlenül fel kell hajlítani.
Ha az utolsó lemezsor nagyon rövid, akkor egy egybefüggő, szalaglemezes kiegészítő szegéllyel is ki lehet alakítani.

Tipp: Jelölje meg a taréjgerinclemez közepét színes zsinórral, hogy biztosítva legyen az egyenes vonalvezetés.

Megjegyzés

Vágja a taréjgerincelemet pontosan a hullámok formájára.

1 tömítőcsavar

2 Szög

1 tömítőcsavar
2 Szög

3 Kiegészítő szegély

Él- és gerinckialakítás (példa)

  • Az élen futó két kúpelemet vágja el úgy, hogy a konty felőli oldalon kb. 10 mm átfedésben legyenek, majd csavarokkal rögzítse a tetőlécekhez (1. ábra).
  • Ezután vágjon el egy fél kúpelemet úgy, hogy az fedje az alsó két kúpelem első levágott részét. A felső elem beállításának megkönnyítése érdekében a képen látható módon ráncolja be a bevágott rész külső területét (2. ábra).
  • Miután az így elkészült kúpelemet a taréjgerinclemezhez rögzítette, folytathatja a munkát a hagyományos kúpelemekkel (3. ábra).

Különleges tudnivalók Classic elem esetén

Ha a Classic elem esetében egybefüggő szegélylemezt szerel fel, akkor az elem felső visszahajtását úgy kell módosítani, hogy be lehessen akasztani egy egyenes falszegélyt.

  • Vágja be a hullám magas pontján lévő visszahajtást, majd emelje fel a borítóvassal (1. és 2. ábra).
  • Kalapáccsal ütögesse laposra a hullámot, hogy egy egyenesvonalú nyitott korc jöjjön létre. Az elemek oldalátfedéseinél nem szükséges bevágást ejteni (3. ábra).
  • Most már gond nélkül be lehet akasztani a különböző szegélylemezeket (4. ábra).

Különleges tudnivalók 29 × 29 és 44 × 44 tetőfedő rombusz esetén

Ha a 29 × 29 vagy 44 × 44 tetőfedő rombusz esetében egybefüggő kiegészítő szegélylemezt szerelnek fel, akkor a 29 × 29, ill. 44 × 44 tetőfedő rombusz esetében záróelemeket kell használni. Ezek lehetővé teszik a vízszintes beakasztókorc kialakítását.

A mellékelt takarószegélyt (1) a 29 × 29 tetőfedő rombusz zárólemezei fölé kell felszerelni.

Egyszerű gerinckialakítás beakasztókorccal

A PREFA tetőfedő elemek levágása után készítsen el egy beakasztókorcot.

Különleges tudnivalók Classic elem esetén

A Classic elem levágása után a középső hullám vonalában az anyagot zömíteni kell a beakasztókorc kialakítása érdekében. A ráncolás korcfogóval vagy ráncológéppel is elkészíthető.

Gerinckialakítás egyszerű gerincelemmel

Egyszerű gerincelem használható, ha a PREFA tetőfedő elem és a gerincpont közötti távolság kisebb, mint 150 mm, és nincs szükség szellőzésre.

Tetősík-váltás kialakítása

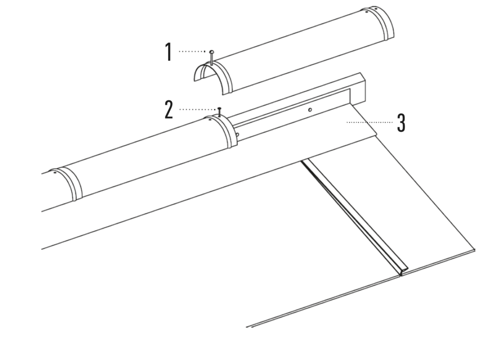
Classic elem

A kialakítás két párkányelemmel történik.

1. Párkányelem Classic elemhez

2. bordázott párkányelem

  • Az első párkányelemet (1806 × 150 mm) a szokásos módon rögzítse.
  • A második párkányelemet (hornyolt párkányelem) hajtsa az első fedősor fölé a fő tetőfelület korcának magasságában. Helyezzen el a helyszínen egy tömítőszalagot, hogy legyen rés a fenti Classic elem beakasztókorcának (1. ábra).
  • A következő sor Classic elem ezután teljes szélességben lerakható (2. ábra).

R.16 classic elem és FX.12 tetőfedő panel

  • Jelölje be a 30 mm-es túlnyúlást, és vágja méretre az R.16 Classic elemet / FX.12 tetőfedő panelt (1. ábra).
  • Kb. 200 mm-re metssze be és vágja ki a felső korcot (2. ábra).
  • A felső beakasztókorc peremezése a lerakás irányában történik (3. ábra).
  • Hajtsa fel a 30 mm-es ráhagyást, és falcolja be az oromszegélyt (4. ábra).
  • A tetőperemnél jelölje be és vágja le a méretre vágandó R.16 Classic elemet / FX.12 tetőfedő panelt (5. ábra).
  • A méretre vágott R.16 Classic elemet / FX.12 tetőfedő panelt fektesse le (6. ábra).
  • Mindkét R.16 Classic elemet / FX.12 tetőfedő panelt össze kell falcolni, és a beakasztási részen a korcot vissza kell hajtani (7. ábra).
  • A beakasztási részt ismét peremezze vissza, és patenthafterrel rögzítse (8. ábra).
  • A következő sor R.16 Classic elem / FX.12 tetőfedő panel ezután teljes szélességben lerakható (9. ábra).

Tetőfedő zsindely és DS.19 tetőfedő zsindely

  • Ha a tetőperemnél az első sort vágott zsindelyből kell készíteni, akkor erre a célra a tetőfedő zsindelyeket / DS.19 tetőfedő zsindelyeket le kell vágni (1. ábra).
  • A következő sor zsindely ezután teljes szélességben lerakható (2. ábra).
  • Készre fedett tetőperem (3. ábra).

29 × 29 tetőfedő rombusz és 44 × 44 tetőfedő rombusz

A 29 × 29, ill. 44 × 44 tetőfedő rombusszal fedett tetőperemek esetében a kivitelezőnek legtöbbször ereszlemezt kell készítenie. Ezzel a fedést könnyebb kezdőlemezként használt 29 × 29 vagy 44 × 44 tetőfedő rombusszal kezdeni (1A és 1B ábra).

„A” változat: Vízszintes korc

A következő rombuszsor ezután teljes szélességben lerakható (2A és 2B ábra).

„B” változat: Függőleges korc

Készre fedett tetőperem (3A és 3B ábra).

Csatlakozás ereszcsatornához (fekvő ereszcsatorna)

Az 1806 × 150 mm-es párkányelemet az alábbi ábra szerint peremezze (2 visszahajtás).